高强螺栓作为钢结构节点连接中最常用的部件,在钢结构中起到非常重要作用。高强螺栓主要由扭剪型高强螺栓和大六角螺栓之分。高强螺栓采用电动扳手来紧固。
认识螺栓
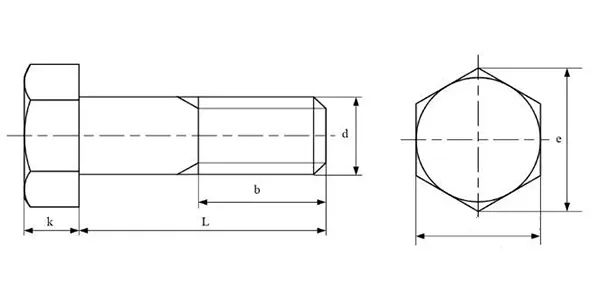
由头部和螺杆(带有外螺纹的圆柱体)两部分组成的一类紧固件。

扭剪型高强螺栓

大六角螺栓
螺栓的等级
性能等级分3.6、4.6、4.8、5.6、6.8、8.8、9.8、10.9、12.9等10余个等级。
①高强度螺栓:指的是性能等级为8.8级及以上的螺栓,其材质为低碳合金钢或中碳钢并经热处理(淬火、回火)。
②普通螺栓:其余通称普通螺栓,可分为精制螺栓(A、B级:5.6或8.8)和粗制螺栓(C级),性能等级一般为4.6或4.8。
螺栓的连接
螺栓与螺母配合,用于紧固连接两个带有通孔的元件,属于可拆卸连接。
螺栓连接的工作原理
胡可定律:固体材料受力之后,材料中的应力与应变(单位变形量)之间成线性关系。



VM-D系列是新一代数码控制式电动扭矩扳手,本系列连接标准电力就能开始工作,并满足高精度,高强度以及安全的工作需求。
VM系列使用高功率输出比的行星齿轮减速系统,使得设备更轻巧。
VM系列,通过彩色控制屏来精确设定扭矩,通过高性能的数码控制模块,为用户提供平稳连续的扭矩控制输出。
VM-DP为智能电动扭矩扳手,具有数据存储传输功能,并支持无线传输蓝牙或者WIFI—选配,可通过无线模块联入物联网,接入上位机系统或MES管理系统。